Kini tiap pengeras suara (loudspeaker) yang layak, cukup tahan terhadap penanganan yang serampangan. Tetapi masalah ini bisa timbul di ruang duduk kita bila volumenya diputar sangat tinggi sebab akan terjadi pemotongan amplitudo frekuensi suara sehingga menimbulkan suara yang cacat. Dan pada keadaan tersebut, selain bisa dihasilkan suara yang cacat, suara harmonik tinggi bisa muncul juga. Dengan demikian hal ini tidak cuma merusak kenikmatan pendengaran, namun juga merusak tweeter. Untuk itulah Anda disarankan menggunakan Rangkaian Indikator Puncak Loud Speaker.
Tindakan pencegahannya bisa diambil dengan menggunakan Rangkaian Indikator Puncak Loud Speaker, sebuah alat yang belum begitu banyak dimasukkan dalam sebagian besar penguat audio. Sedangkan indikator puncak yang diterangkan di sini bisa dihubungkan secara langsung pada output penguat atau malahan dipasang dalam pengeras suara atau loud speaker sebab tidak dibutuhkan catu daya terpisah.

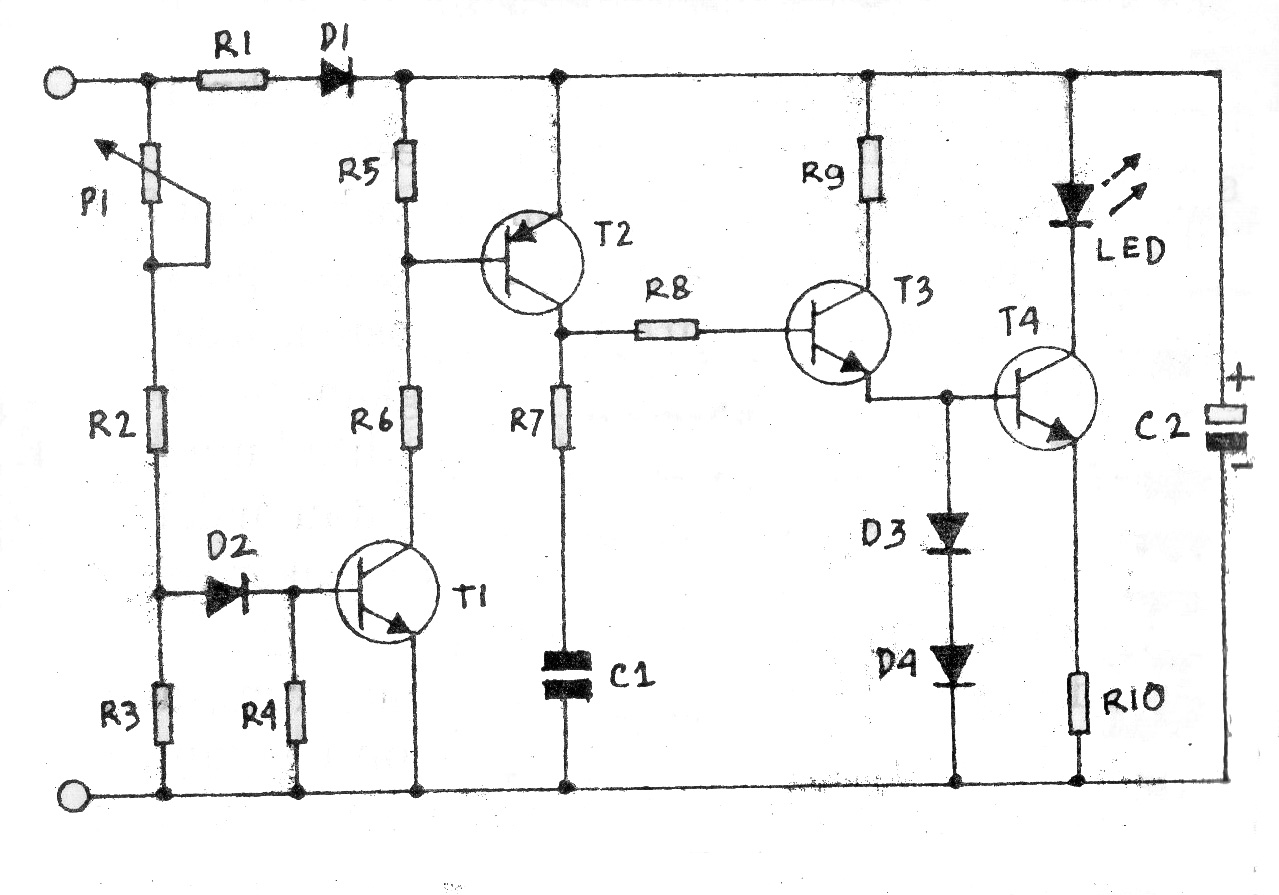
Daftar komponen :
R1 = 100 Ohm
R2 = 27K
R3 = 5,6K
R4 = 2,7K
R5 = 8,2K
R6 = 39K
R7 = 220 Ohm
R8 = 1M
R9 = 3,3K
R10 = 27 Ohm
C1 = 100nF
C2 = 220uF/50 V
D1 = 1N4004
D2, D3, D4 = 1N4148
T1, T3, T4 = BC547B
T2 = BCX 557 B
LED
Taraf daya puncak dimana Rangkaian Indikator Puncak Loud Speaker diharapkan memberikan respon-respon (tegangan puncak) bisa diatur antara 15 dan 125 W dengan sebuah pengeras suara 8 W. Maka rangkaian memberikan daya puncaknya sehingga memungkinkan pendengar bisa melihat dengan sebenarnya jika sesuatu mulai bekerja tidak normal. Jika LED cuma sesekali menyala berarti segala sesuatu masih berjalan normal. Dan pada waktu LED menyala terus-menerus, maka tiba saatnya untuk mengecilkan volume sedikit.